当前位置:主页 > 产品展示 > 振动器 > 直线式振动器 > 德国NETTER直线活塞往复式振动器NTK型

德国NETTER直线活塞往复式振动器NTK型

产品时间:2020-07-02 14:34

简要描述:

特点: 可以产生一个比较大的振幅摇动。在轴心上添加不同的重锤可以随时改变振幅、转速及频率。无限可以改变的频率及出力振幅。 可以随时停止运转,非常低的噪音值。非常低的...

详细介绍


德国NETTER直线活塞往复式振动器NTK型

 
 
 
特点:
可以产生一个比较大的振幅摇动。在轴心上添加不同的重锤可以随时改变振幅、转速及频率。无限可以改变的频率及出力振幅。 可以随时停止运转,非常低的噪音值。非常低的空气消耗量。

1、型号以及功能数据     

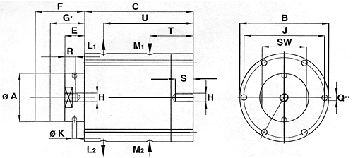
2、本体尺寸图,如下所示       

应用范围:
清仓,搬运原料,筛网振动,整密原料,振动台。食品医药需要无菌,无污染环境的振动。当然也包括一切的振动需求。

结构和运转的特性:

NTK型气压振动器可分为硬化树脂外壳,及铝合金硬化染黑外壳。本体的中心有一活塞往复式振动,活塞轴心可加重锤以改变,出力及转速、振辐。气压式运转,可以增加不同重锤,活塞非常轻巧。本体的运作并不会产生撞击。非常严谨的生产制造。 硬化树脂本体NTK8AL,NTK15X,NTK18AL,NTK25AL 可在免润滑剂下运转。使用温度5°C ~ 60°C 使用型号可由非常轻巧的NTK8AL型,一直到NTK110型。
 
 
NTK 本体尺寸图:

型号 A B C E F G* H J K L M Q** R S T U SW
NTK15x 15 50 114 9,5 42 25 M10 - - G1/8 G1/8 - 21 10 55 99 13
NTK 16 16 49 111 5 40 22.5 M10 - - G1/8 G1/8 - 21 10 57 96 14
NTK 18 AL 18 49 116 8 42 24.7 M10 - - G1/8 G1/8 - 21 10 62 101 16
NTK 25 25 64 138 9 54 31.5 M16 - - G1/4 G1/4 - 25 10 73 121 22
NTK 40 40 84 140 12 57 34.5 M16 - - G3/8 G1/4 - 40 15 73 123 32
NTK 55 NF 55 110 125 17 55 36 M20 96 - G3/8 G3/8 4x8.5 40 30 60 108 46
NTK 55 HF 115 27 41 50 100
NTK 85 NF 85 160 122 20 55 37.2 M20 143 3x12.8 2xG3/8 G3/8 6x10.5 40 20 57 105 -
NTK 85 HF 112 30 42.5 47 95
NTK110HF 110 200 122 22 55 38.5 M20 182 2x12.8 2xG1/2 2xG3/8
au choix
M, ou M2
8x12.5 40 25 57 105 -

型号 A B C D E F G* H J K L M R S T U SW
NTK 8AL 8 22 91 22 5 32 19 M5 M6 - M5 M5 15 7 47.0 76 7
NTK 25AL 25 50 138 54 6 54 30 M16 M16 - G1/4 G1/4 25 18 72.0 120 22
NTK 40AL 40 73 140 79 11 57 34 M16 M16 8 G3/8 G1/4 25 20 73.0 122 32
NTK 55AL 55 98 133 109 20 57 38.5 M20 M20 10 G3/8 G3/8 40 35 66.0 115 46
 
NTK 型号及功能:
型号 振荡子
[kg*]
活塞及重锤数量 空气消耗 [升/分] 频率[min] 中央出力[N] 工作动量[cm/kg]
2bar 4bar 6bar 2bar 4bar 6bar 2bar 4bar 6bar 2bar 4bar 6bar
NTK8AL 0.030 piston 8 20 33 2,180 3,050 3,600 12 31 43 0.049 0.061 0.061
0.046 piston+SM8-1 7 17 29 1,800 2,400 2,880 13 32 45 0.074 0.101 0.100
0.058 piston+2xSM8-1 6 16 28 1,680 2,200 2,640 11 33 48 0.067 0.124 0.126
0.088 piston+SM8-2 5 15 26 1,320 1,800 2,160 12 34 49 0.126 0.191 0.192
0.146 piston+2xSM8-2 5 13 23 960 1,390 1,680 11 34 50 0.192 0.321 0.323
NTK15x 0.130 piston 18 40 85 1,820 2,380 2,700 40 72 96 0.220 0.230 0.240
0.450 piston+SM16-1 17 33 67 1,030 1,270 1,430 55 88 112 0.950 1.000 1.000
0.670 piston+SM16-2 16 30 60 870 1,075 1,260 52 82 113 1.260 1.300 1.300
1.200 piston+2xSM16-2 15 28 57 660 850 950 45 76 94 1.900 1.900 1.900
NTK16 0.150 piston 17 37 70 1,900 2,450 2,700 43 76 96 0.210 0.230 0.240
0.470 piston+SM16-1 12 29 57 1,070 1,370 1,570 59 106 160 0.940 1.030 1.180
0.690 piston+SM16-2 11 27 50 900 1,180 1,350 63 127 163 1.420 1.660 1.630
1.220 piston+2xSM16-2 10 25 46 730 950 1,100 61 124 171 2.080 2.490 2.570
1.340 housing 9 23 43 670 850 990 49 109 178 2.470 2.470 3.300
NTK18AL 0.021 piston 21 43 63 1,560 2,160 2,640 60 138 206 0.450 0.540 0.540
0.530 piston+SM16-1 14 35 57 980 1,380 1,660 75 176 237 1.430 1.690 1.570
0.750 piston+SM16-2 13 32 55 820 1,030 1,420 79 130 257 2.140 2.230 2.320
1.280 piston+2xSM16-2 11 30 48 670 970 1,160 88 211 302 3.570 4.100 4.100
0.530 housing 14 35 57 1,000 1,290 1,580 87 153 236 1.580 1.680 1.730
NTK25AL 0.425 piston 40 109 160 1,390 2,130 2,750 121 342 522 1.140 1.370 1.260
0.990 piston+SM25-2 34 80 150 960 1,370 1,650 145 334 455 2.860 3.240 3.050
1.675 piston+SM25-3 32 75 141 750 1,080 1,320 188 391 529 6.110 6.110 5.540
2.975 piston+2xSM25-3 27 71 141 600 800 1,080 151 387 732 7.640 9.540 11.490
0.495 housing 35 100 160 1,200 1,800 2,640 151 285 598 1.910 1.600 1.560
1.745 housing+SM25-3 30 78 141 765 985 1,225 202 345 503 6.300 6.500 6.400
3.045 housing+2xSM25-3 26 67 127 600 840 1,030 132 370 611 6.680 9.550 10.500
NTK25 0.470 piston 56 109 180 1,585 1,670 2,200 82 214 398 0.600 1.400 1.500
1.030 piston+SM25-2 50 92 144 1,010 1,130 1,460 123 266 561 2.200 3.800 4.800
1.740 piston+SM25-3 48 87 132 900 980 1,200 222 279 600 2.500 5.300 7.600
2.980 piston+2xSM25-3 45 75 120 640 740 920 216 280 617 4.800 9.300 13.300
3.900 housing+SM25-3 42 68 104 615 640 795 301 326 596 14.500 14.500 17.200
5.140 housing+
2xSM25-3
38 64 98 420 550 710 121 340 597 12.400 20.500 21.600
  
产品咨询

留言框

  • 产品:

  • 留言内容:

  • 您的单位:

  • 您的姓名:

  • 联系电话:

  • 常用邮箱:

  • 详细地址:

上一篇:没有了

下一篇:德国Netter Vibration直线往复式振动器NTS型


推荐产品

问鼎封神官网 版权所有 备案号:沪ICP备16049765号

在线客服 联系方式 二维码

服务热线

021-61211140

扫一扫,关注我们